正义反腐网·《反腐廉政月刊》杂志社综合讯:(公民记者程敏报道)由于郭美美炫富丑闻被曝光后,官方掌控的众多慈善机构近年接收捐款的数额剧减。近日西安市一家具有官方性质的慈善机构因咄咄逼人的“霸屏广告”而备受瞩目。这家年入过亿的募捐平台日前突然被叫停,其募集资金去向成谜。

▲2016年12月17日,贵州省安顺市的三名留守儿童围坐在火堆旁取暖。这些农村儿童由爷爷奶奶抚养长大,而他们的父母则在城市里寻找工作。(图片来源:资料图)
网易清流工作室于9月14日和19日先后发布《曝西安善行基金会在网上疯狂打广告募捐,善款却被自己留下》、《西安善行涉嫌虚构募捐信息:捐助对象父亲“死而复生”?》两篇文章。

▲西安市善行公益慈善基金会《关于网易清流工作室相关报道的澄清》(图片来源:西安市善行公益慈善基金会网站截图)
据清流工作室调查,西安市善行公益慈善基金会(下称“西安善行”)存在至少连续三年资金流向关联方、涉嫌对募捐项目虚构情节、诱导募捐,以及在互联网平台违规筹款等问题。
日前,西安善行基金会已被西安民政局叫停。
这家具有公募资格、年入过亿的慈善组织为何突然被叫停?
募捐广告五花八门
去年以来,不断有人在社交平台上发出这样的疑问:“一会儿救助流浪狗,一会儿救助患病儿童,凄惨音乐加上特写哭泣,点进去直接微信支付页面。”“我已经被推送了几个月他们的广告了,各种版本,有的是哭着的脸怼你,有的是展示残障形象”……
据《中国慈善家》30日报道,大量的西安善行筹款广告在抖音、微信、百度等平台上刷屏。有人在浏览微信公众号时,页面突然弹出西安善行的广告,看到广告里的孩子挺可怜的,就产生怜悯之心给项目捐钱,这时该广告中出现“每月固定扣款”字样,但并未提示金额大小,输入密码就直接扣掉100元(人民币,下同)。
一家具有公募资格的公益组织,因咄咄逼人的“霸屏广告”而备受瞩目。不过,受到质疑的还不止这些。
公开资料显示,西安市善行公益慈善基金会是在西安市民政局注册的公募基金会,成立于2017年,经营范围包括“利用互联网、高新技术以及社会各种资源,为扶贫、环保等公益慈善事业的发展做贡献”。
2019年,该基金会发起的公益项目超过50个,通过公开募捐取得的捐赠收入约为6,501万元,2020年的捐赠收入接近6,800万元,去年收入合计超过1亿元。由于广告带来的直接捐赠没有体现在年报中,所以目前无法预估。
早在2021年5月,西安善行就因泛滥的广告而被指“吃相难看”。在其官方微信公众号“善行公益”上刊登过多条筹款故事,情节都非常雷同:父亲去世,小女孩与妈妈相依为命,吃不饱饭。西安善行自称给化名为“贝贝”“妞妞”的家庭家送去了1,500元补助金,资金的接收人是“贝贝”“妞妞”的父亲。
类似的故事还有很多,比如《被父亲抛弃在大山里的孩,用自己的勤劳报答爷爷奶奶》《父母双亡,谁来养活这个4岁的小男孩?》《儿子因病截肢,婆婆身患癌症,苦命泣不成声》《一场车祸改变了8岁男孩的命运,父母含泪选择截肢保命》……相同的一点是,在文章开头、中间、文末都会出现“我要捐款”的链接,点击后都会跳转到同一个捐款页面。
不过,目前“善行公益”上的文章已经被清零,一些受到质疑的视频内容也被下架,相关平台的捐赠入口目前也已关闭。
捐赠资金去向成谜
根据官方介绍,疾病救助只涉及该机构的一部分公益项目,其它扶贫济困、教育、环保等方面的项目进展信息缺失。2021年年报显示,西安善行当年开展了30个公益项目,除了一些0收入项目外,一些有捐赠收入的项目信息难寻,资金去向成谜。官网的“公益项目”一栏中,只公布“公益助学,护佑未来”和“大病救助,重燃希望”两个项目,且只有项目简介。
民政部的官方平台“慈善中国”显示,西安善行基金会备案的公益项目中,募捐情况和项目进展信息也严重缺失。
2019年8月3日至2020年2月22日,该机构在某公益平台上发起的“善行‧涓流计划”募得善款316万余元,至今仅发布了3条“项目进展”,且对善款去向只字未提。
购买理财产品背后的猫腻
据了解,西安善行基金会曾被某知名公益平台列入黑名单。
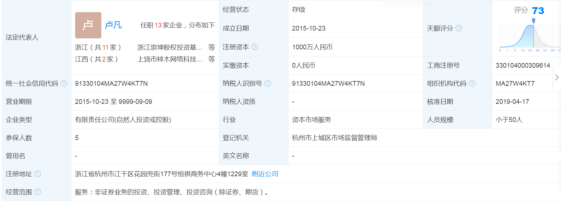
西安善行曾将997.4万元委托给浙江崇茂股权投资基金管理有限公司,购买了名为“崇茂‧富盈一号货币市场基金”,委托期限为1年,当年实际收回200万元。
连续3年,每年花费近千万购买的“基金”,究竟是什么样的理财产品?浙江崇茂股权投资基金管理有限公司有无发行理财产品的资质呢?

▲浙江崇茂股权投资基金管理有限公司工商信息(图片来源:天眼查网站截图)
工商资料显示,浙江崇茂股权投资基金管理有限公司是一家以从事资本市场服务为主的企业,经营范围是服务非证券业务的投资、投资管理、投资咨询(除证券、期货)。

▲基金会法人登记证书(慈善组织),西安市善行公益慈善基金会、法定代表人:贺小娟。(图片来源:网络)

▲西安市善行公益慈善基金会公开募捐资格证书。(图片来源:网络)
不过,在中国基金业协会官网上,无法查询到该公司的相关备案信息。关于“崇茂‧富盈一号货币市场基金”,网上没有任何相关信息。
公开资料显示,浙江崇茂公司的法定代表人、大股东卢凡,曾在西安善行担任副理事长一职。直到2019年底,卢凡才因“个人原因”辞职离开西安善行。
借吴花燕病重 民政部募捐平台收入百万 仅转出2万
值得一提的是,2020年1月,在当地政府高调宣传“2020年建成小康社会”之际,体重仅43斤的贵州女大学生吴花燕去世了,她因贫困曾用糟辣椒拌白米饭吃了5年,其悲惨遭遇引起了社会广泛关注。
与此同时,民政部旗下的募捐平台9958儿童紧急救助中心(下称“9958”)被曝光,在吴花燕及其家人亲友不知情的情况下,同时使用两个平台以其名义募款超过100万元,但吴花燕在去世前仅获得两万元。
公益人郑鹤红认为,“9958”不告知患者真实的情况去筹款,而且是超额募捐,并且不及时给予拨款,意图拖死患者达到囤积捐款的目的。
郑鹤红告诉《凤凰网》说,“儿慈会最看重的项目就是‘9958’,采取的手段是多年来一贯套路,选择这种病情临近不治的患儿,家里条件差、没有能力查询慈善机构的捐款和跟进捐款的家庭进行敛财,包括心脏病小佳慧、白血病林泓腾,对他们(儿慈会)是同样的操作手法。”
郑鹤红还提到,其志愿者团队是在2018年6月份开始举报9958主管王昱的,当时他们花了两个月的时间来调查9958上面的信息,从上万个个案里面挑出来一、二十个违法违规比较严重的案例,并且(将举报材料)递交到民政部,但是民政部没有任何的调查和处理。
关于9958儿童紧急救助中心的背景,记者查询发现,该救助中心并非民间机构,它只是中华少年儿童慈善救助基金会(下称“儿慈会”)旗下的多个募捐项目之一。
儿慈会成立于2009年,其表面具有民间色彩,主管单位却是民政部,包括其高层人事任免权、财务审计及重大募捐活动均由民政部批准。该基金会的主要职责是募集社会资金,此前已发起多个专项基金的筹资活动。
据《新京报》报道,2012年12月10日,网民周筱赟微博举报儿慈会涉嫌洗钱,称其2011年账目上,一项金额达48.4亿元,远远高于当年收到的8,000多万元捐款。对此,儿慈会官网称是工作失误致小数点错位。
但会计事务所工作人员认为,按照惯例这样的情况一般不会出现。会计所在审计基金会财务报表时,须有基金会银行入账和出帐记录,而不是说凭工作人员的口头说明。4.75亿元和47.5亿元差距很大,这与审计工作必须全部有迹可循是矛盾的。



分享



